The 2011 Patent for Dry Erase Board Shoes Out-Zuckerbergs Zuckerberg
Turn your kicks into a presentation

People have been hiding things in their shoes since SPECTRE agents tried to kick James Bond's bucket with dagger-tipped loafers. Civil engineers Kelye McKinney and James McKinney invention took this idea in a slightly less sociopathic with their 2011 patent for “Shoe with writing surface,” combining all the fun of chunky sandals with the joy of a dry erase board.
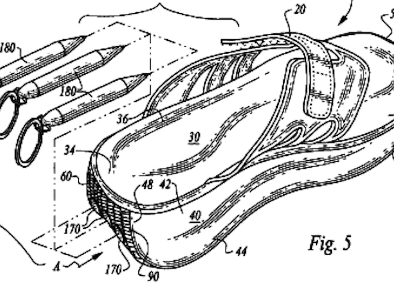
If you "desire to be highly expressive," but you can't handle the fact that your expressive clothing messages won't change with a swipe of a rag and a strange oily residue, well, these kicks are for you. No need to worry about where you might find a writing utensil, either — whenever and wherever the inspiration strikes, you can give that impromptu lecture on Punnett squares you've dreamed about. All you have to do is pull a marker out of your heel:
Or, if you have kids, they get to show off their plant-human hybrid drawings (see D, Fig. 2) — and you get prime refrigerator real-estate back. Wipe their doodles away, and the fun starts all over again:
As shown in the top image, the shoe manages to cram up three markers per heel — that's no Crayola mega-box, but with six markers you can almost get through the rainbow. Apparently someone tried to do this already with chalk, but in a little bit of inventor shade, McKinney and Mulligan point out that chalk shoes "do not provide any convenient location for storage." And if you write NIKE = SWEATSHOP on the side, you get to start a new media company.